2020年伊始,美团就申请了数个名字的数十枚商标。其中有“美团外卖,买药也快”、“美团外卖,买菜也快”、“美团外卖,买水果也快”等商标。
美团还考虑到因为疫情不能出门,情人节表达爱意的问题,还申请注册了“美团外卖,送花也快”商标。

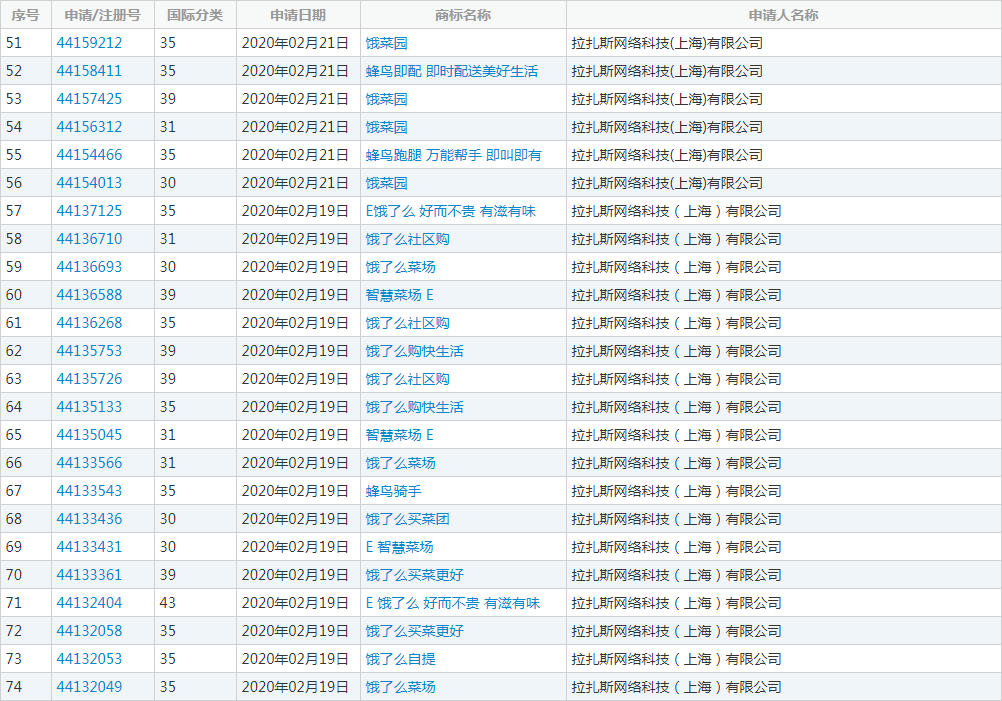
看着美团开始布局生鲜市场,外卖巨头饿了么不甘示弱,也开始申请注册相关的商标。
饿了么也申请注册了相当多的商标,有“饿了么买菜更好”、“饿了么社区购”、“饿了么买菜团”等。

从申请注册的名字来说,饿了么的申请商标更具有指向性,偏向于社区配送。
这个春节,不管是线下商超还是线上生鲜电商平台,其生鲜果蔬销量都暴涨。
送奶工“转型”加送生鲜
疫情下,“宅经济”异军突起,众多消费者转向生鲜电商平台解决买菜等生活必需品。
目前,上海光明、北京三元、四川新希望等乳企都已跨界生鲜配送业务,且订单数量增长迅速,同时带动了乳品销量的回暖。
据光明乳业介绍,为解决疫情期间市民出门少、买菜难的困境,随心订在原有送奶基础上,自2月11日起全面上线蔬菜肉类配送服务。其中,蔬菜货源来自地处青浦朱家角的生态农庄,推出4个系列的蔬菜套餐;4款肉类产品则来自控股股东光明食品集团旗下的上海农场。
截至目前,光明乳业随心订已收到3000多个生鲜配送订单,因疫情而下降的鲜奶配送量也在近期回暖。

在四川成都,新希望乳业一方面与生鲜电商平台“鲜小厨”深度合作,为社区提供乳品、蔬菜到家服务;另一方面也在全国区域入驻当地生鲜平台,如上海的叮咚买菜、合肥的谊品生鲜、云南的绿鲜达等。
此外,新希望乳业还与盒马、永辉、沃尔玛等零售客户联手,共同拓展线上业务。
受到疫情影响,萎靡的生鲜配送注入了一剂强心针,那么疫情过后,生鲜配送还能像现在这样吗?
生鲜配送
据数据显示,我国生鲜电商市场发展迅速,2018年交易规模突破2000亿元,预计未来3年仍会保持年均35%的增长率,并在近两年迎来新一轮洗牌。
其中供应链问题便显得格外重要。供应链是每一家生鲜配送都需要努力去优化,做到优质的全流程、信息化的供应链。

那么,外卖平台是否为成为最好的配送呢?
大街小巷的外卖小哥能串联起了每一个订单的发货地址和收货地址。目前,主要是为社区生鲜和同城生鲜,同城生鲜的难度高于社区生鲜。
社区生鲜可以串联起两、三个社区,简单地就能做到蔬菜水果的及时配送和消化。
同城生鲜则需要依靠数据的支持和物流能力,了解城市各类生鲜的需求,并且能及时到达城市的每个角落,这或许就需要外卖配送了。
因此美团和饿了么都看中疫情过后的生鲜市场。
疫情后,生鲜市场虽不能与疫情期间相比较,但是消费者也会有消费习惯的结构性变化,基于到家的便利性,相信会留下相当一部分消费者。
如果菜一样的新鲜,那么肯定会有人喜欢上坐等送上门的。
知海星技术转移数据服务平台——基于市场建立的技术成果、知识产权数据评价评估体系、标准及科技金融创新服务载体,是山西省本土专业型技术转移服务平台。
免责声明:本网转载或编译文章原文均来自网络,不代表本网观点或证实其内容的真实性。若有来源标注错误或涉及文章版权问题,请与本网联系,本网将及时更正、删除,谢谢。


知海星
共有条评论 网友评论